Происходившее в последние годы развитие оборудования для сжигания топлива в условиях рационального использования энергии и охраны окружающей среды привело к новым техническим разработкам в конструкциях для удаления дымовых газов.
Дымоходы обязательно нужны для нормального функционирования промышленной сферы. Дым в цехах губительно действует на здоровье человека, поэтому важно организовать его беспрепятственное попадание из печи в трубу, а оттуда – в атмосферу.
Конструкции для удаления дымовых газов состоят из различных строительных компонентов и могут быть выполнены в двух вариантах:
- дымоходная система в виде строительного комплекта, которая была собрана с использованием совместимых строительных компонентов одним производителем, берущим на себя ответственность за всю конструкцию удаления дымовых газов, или
- сборная конструкция для удаления дымовых газов, которая была смонтирована и установлена на строительной площадке в соответствии с проектной документацией или местными строительными нормами с использованием комбинации совместимых строительных компонентов от одного или нескольких производителей.
Основные термины и определения
Устройство для сжигания топлива: Устройство, в котором образуются продукты сгорания, которые должны быть отведены во внешнюю атмосферу.
Дымовой канал: Канал для отвода продуктов сгорания от источника тепла в атмосферу и создания тяги.
Дымовые газы: Газообразные компоненты продуктов сгорания топлива, которые удаляются через дымовой канал в атмосферу.
Продукты сгорания: Продукты, образующиеся при сжигании топлива (газообразные, жидкие или твердые компоненты).
Конструкция для удаления дымовых газов: Конструкция из одной или нескольких оболочек, окружающих один или несколько дымовых каналов, предназначенная для отвода продуктов сгорания во внешнюю атмосферу.
Внутренняя труба: Жесткая или гибкая внутренняя оболочка конструкции для удаления дымовых газов, состоящая из строительных компонентов, соприкасающихся с продуктами сгорания.
Дымоходная система: Конструкция для удаления дымовых газов, собранная с использованием совместимых строительных компонентов и используемая в качестве комплекта, поставляемого одним производителем, который несет ответственность за систему в целом.
Сборная конструкция для удаления дымовых газов: Конструкция для удаления дымовых газов, которая была смонтирована или установлена на строительной площадке с использованием совместимых строительных компонентов, которые могут поставляться одним или разными производителями.
Конструкция для удаления дымовых газов, работающая с разряжением: Конструкция для удаления дымовых газов, предназначенная для режима работы, при котором давление в канале движения дымовых газов равно или ниже давления вне канала (класс конструкций с разрежением обозначается "N").
Конструкция для удаления дымовых газов, работающая с избыточным давлением: Конструкция для удаления дымовых газов, предназначенная для режима работы, при котором давление в канале движения дымовых газов больше, чем давление за пределами канала (классы конструкций с избыточным давлением обозначаются "P", "M", "H").
Конструкция для удаления дымовых газов, устойчивая к возгоранию сажи: Устойчивая к возгоранию сажи конструкция для удаления дымовых газов, которая после возгорания сажи пригодна к использованию (конструкции для удаления дымовых газов, устойчивые к возгоранию сажи, обозначаются буквой "G".
Конструкция для удаления дымовых газов, устойчивая к замораживанию-оттаиванию: Конструкция для удаления дымовых газов, которая может противостоять смене замораживания и оттаивания.
Требования к конструкции для удаления дымовых газов
Бывают дымовые и вентиляционные промышленные трубы.
Первые – отводят отработанные газосодержащие составы, образовавшиеся при сжигании топлива разных видов. Устанавливают такие системы, как в котельных, так и в других промышленных помещениях, где функционируют энергетические агрегаты, вследствие работы которых температура может подниматься до 500 градусов.
Вторые, которые также называют вытяжными, предназначены для отведения от оборудования невысокой температуры (до 80 градусов) газовоздушных смесей, прошедших предварительную очистку.
По принципу работы системы и ее функциональности промышленные конструкции бывают следующих типов:
- трубы, полностью обеспечивающие тягу, благодаря чему в топку, печь, котел или иное подобное оборудование подается необходимый приток воздуха;
- системы, в которых для вывода газов, дыма и других вредных смесей при помощи дополнительного оборудования создается принудительная тяга;
- трубы-гибриды, выполняющие обе перечисленные функции.
Промышленные системы вывода делают из следующих материалов:
- металл;
- кирпич;
- конструкционная пластмасса;
- железобетонная масса (монолитные конструкции или сборная система).
Встречаются и комбинированные промышленные трубы.

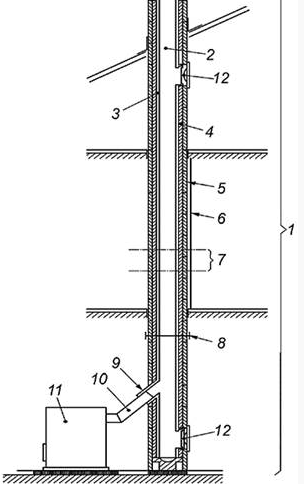
Рис. 1 Строительные компоненты и принадлежности конструкции для удаления дымовых газов
1 - вертикальная часть конструкции удаления дымовых газов; 2 - дымовой канал; 3 - внутренняя труба; 4 - изоляция; 5 - внешняя оболочка; 6 - внешний защитный слой; 7 - секция конструкции для удаления дымовых газов; 8 - многослойная конструкция; 9 - фасонный элемент; 10 - соединительный элемент; 11 - устройство для сжигания топлива; 12 - принадлежность
Характеристика конструкций из приведенного перечня материалов, особенности их изготовления и эксплуатации
Высокие дымовые трубы промышленных предприятий зачастую делают из железобетона монолитным способом. Такие конструкции востребованы на многих сложных производствах, включая энергетическое направление. Основная масса существующих в нашей стране систем вывода дыма такого типа имеет высоту в пределах 90-150 м, гораздо меньше – 180-250 м и незначительное количество – свыше 330 м.
Трубы сборного типа задействуют в основном для вывода отходов горения в небольших котельных. Такие конструкции по высоте варьируются в пределах 30-45 м, реже достигают 60-75 м. Для сборки систем данного вида разработаны типовые проекты.
Футеровка конструкции кирпичом
В большинстве случаев для сборных конструкций используют изделия без футеровки, но нужно учитывать также правила безопасности дымовых и вентиляционных промышленных труб, поэтому при высокой агрессивности и температуре выводимых газов некоторые (или все) элементы системы подвергают футеровке. Основной недостаток сборных систем – трудоемкость ремонта (замены промежуточных элементов).
При правильной эксплуатации железобетонные конструкции служат минимум 50 лет.
Металлические системы вывода дыма полностью влаго- и газонепроницаемы, удобны в монтаже, поскольку сравнительно мало весят, могут быть размещены на маленьких площадках.
Срок эксплуатации – 20-30 лет. Самые уязвимые места конструкции – опорные кольца, кожух и растяжки. Причины: разрушение сварных швов, прогары материала и коррозия.
Высота металлических систем вывода дыма (согласно нормам) не должна превышать 200 м.
Конструкционную пластмассу используют для футеровки либо изготовления конструкций для отвода влажных газов, по температуре не превышающих 90 градусов.
Изделия из пластмассы легки, поэтому удобны в монтаже, но у них самый малый срок службы – 15-20 лет, при условии, что осмотр системы и устранение недостатков будет производиться каждые 3 года.
Кирпичные системы вывода отработанных газов по-прежнему считаются самыми долговечными – способными служить до 100 лет. Однако из такого материала нельзя возводить конструкции выше 90 м, но можно пропускать через системы газы с разным температурным диапазоном. Строить кирпичные дымоходы сложно, зато ремонтировать легко.
Все конструкции для удаления дымовых газов, внутренние трубы, компоненты и принадлежности, соединительные элементы, должны выдерживать температурные нагрузки, а также их необходимо проверять на газопроницаемость.
Все конструкции для удаления дымовых газов должны выдерживать горизонтальные, вертикальные и другие нагрузки. Следовательно, изделия должны быть испытаны на продукцию из соответствующего материала. Необходимо учесть следующие характеристики:
- прочность на сжатие;
- прочность при растяжении;
- устойчивость к боковым нагрузкам при давлении ветрового напора 1,5 кН/м;
- устойчивость к истиранию;
- относительное движение внутренней трубы многослойной конструкции для удаления дымовых газов.
Там, где возможен непреднамеренный контакт с кожей человека, необходимо проверить максимально возможную температуру наружной поверхности конструкций для удаления дымовых газов Если температура поверхности в конструкциях для удаления дымовых газов превышает значения, указанные в таблице 1, и возможно случайное прикосновение, следует указать, что конструкция для удаления дымовых газов должна быть защищена от прикосновения.
Таблица 1.
|
Материал внешней поверхности |
Максимально допустимая температура, °C |
|
Металл полированный |
70 |
|
Металл, покрытый лаком 50 мкм |
80 |
|
Металл - сталь с покрытием стеклопластиком 160 мкм |
78 |
|
Металл с покрытием пластиком 400 мкм |
98 |
|
Пластик |
93 |
|
Глина/керамика, стекло |
85 |
|
Бетон, камень |
80 |
|
Примечание - Значения относятся к порогу ожога за 1 с.
|
|
Экспертиза дымовых труб
Любые промышленные системы газо- и дымоотводов должны проходить осмотр: первый – через год от момента введения в эксплуатацию, следующие – каждые 5 лет.
Экспертиза включает в себя:
- измерение крена конструкции;
- определение уровня поражения коррозией;
- осмотр наружной и внутренней поверхности элементов;
- проверка состояния межтрубного пространства;
- определение осадки;
- расчет физической нагрузки сооружения, выявление отклонений от нормы;
- оценка прочности элементов;
- определение степени воздействия выявленных недостатков на надежность работы трубы.
Изучаются и объекты, и документация на них, а также журналы по ведению ремонтов, устранению аварий и т.д.
После анализа полученных данных эксперты дают рекомендации по устранению недостатков, разрабатывают рекомендации и мероприятия для восстановления работоспособности сооружения, а также составляют заключение о пригодности конструкции в условиях промышленного производства.